
Die casting is widely used in automotive, 3C products, hardware parts, and other fields due to its advantages of high efficiency, high material utilization, and high forming accuracy. For specific die-casting parts, corresponding die-casting molds need to be designed, and the shell needs to be formed using side gate die-casting molds. The design and manufacturing of side gate die-casting molds are key to ensuring the quality of aluminum alloy die-casting parts. Taking aluminum alloy shell components as an example, this paper introduces the design of die casting molds for aluminum alloy horizontal cold chamber die-casting machines.
A process analysis was conducted on an aluminum alloy die-casting part of a certain shell, and the structural design of the die-casting die for a horizontal cold chamber die-casting machine was introduced in detail, mainly including the selection of parting surface, pouring system design, side core pulling design, and demolding mechanism design. The working principle and structural characteristics of the die-casting die were explained, providing reference for the structural design of the die-casting die for a horizontal cold chamber die-casting machine.
The shell structure is shown in Figures 1 and 2. The casting requires high strength, light weight, and operates in high temperature and humidity environments above 100 ℃. Therefore, YL102 aluminum alloy is selected, with a melting point of 650 ℃. Due to the high Si content, a metal crucible is used for the melting furnace. There are 2 on this casting φ 6mm through-hole and φ 8mm blind hole, with a shape of φ 56mm cylindrical surface, 2 pieces φ The 6mm through-hole requires a center distance of 280-0.2mm, and the dimensional accuracy of the casting is not high. The casting has good formability, requiring a smooth surface and no casting defects such as cracks, cold shuts, and air holes inside. The starting angle of the inner and outer surfaces is 1 °, the wall thickness of the casting is 4mm, and rounded corners are set at the transition between the inner and outer cylindrical surfaces with a radius of 1mm; Die casting process parameters: injection specific pressure of 65MPa, filling speed of 42m/s, pouring temperature of 630 ℃, mold preheating temperature of 160 ℃, filling time of 0.1s, using sodium fluoride water as coating. According to the projection area method, the clamping force is calculated and the J1110A horizontal cold chamber die casting machine is selected for die-casting. The inner diameter of the die casting machine's pressure chamber is φ 40mm, with an outer diameter of φ 90mm, the injection stroke is 0-120mm.

Figure 1 Shell Plan

Figure 2 Three dimensional diagram of the shell

Figure 3 Shell parting surface scheme
(1) Option I: The large core of the die-casting mold is located in the core fixing plate, while the cavity and small core are located in the cavity plate. The advantage is that the ejection force of the die-casting part is small. The disadvantage is that there are two die-casting parts φ 6mm small hole and outer circle of die cast parts φ 56mm and inner hole φ The symmetry of the 48mm centerline is difficult to ensure; The parting surface of the die-casting die is the lower plane (assembly reference plane) of the die-casting part, with flying edges on top, which cannot ensure the accuracy of dimensions 20mm and 16mm (see Figure 1). Obviously, the quality of the die-casting part is difficult to guarantee in this scheme.
(2) Option II: Part of the cavity and large core of the die-casting mold are placed in the core fixing plate, while the other part of the cavity and small core of the die-casting mold are placed in the cavity plate. The disadvantage is that there are two die-casting parts φ 6mm and outer circle of the casting φ 56mm and inner hole φ The symmetry of the 48mm centerline is difficult to ensure, and the parting surface of the die-casting mold is set on a plane with an outer circle, which artificially causes flash edges on the outer circle of the die-casting part, resulting in poor appearance quality of the casting.
(3) Option III: The die casting model cavity and large core are located in the cavity plate, while the small core is located in the core fixing plate. The advantage is that the casting flash is not on the installation reference surface of the casting. The disadvantage is that there are two castings φ 6mm small hole and outer circle of casting φ 56mm and inner hole φ The symmetry of the 48mm centerline has a certain impact, but the quality of the casting can be basically guaranteed; Use the upper plane of the die-casting part as the parting surface, and there are flash edges on the upper plane of the die-casting part. Due to the fact that the flash of the die-casting parts is obstructed by other parts during assembly, it does not affect the appearance quality of the castings after assembly. This plan is more reasonable.
(4) Plan IV: The die casting model cavity and both large and small cores are located in the moving mold. The advantage is that it can ensure two castings φ 6mm small hole and outer circle of casting φ 56mm and inner hole φ Symmetry of 48mm centerline. The disadvantage is that the parting surface is located on the lower plane (assembly reference) of the die casting, and there are burrs on the assembly reference surface of the casting. This surface is the assembly reference surface and there should be no burrs, so this plan is unreasonable.
Option V: Part of the die casting mold cavity is located in the moving mold, and the other part of the cavity is located in the fixed mold, with both large and small cores located in the moving mold. The advantage is that it can ensure two castings φ 6mm small hole and inner hole φ Symmetry of 48mm centerline. The disadvantage is that it cannot guarantee two die-casting parts φ 6mm small hole and outer circle of die cast parts φ Symmetry of 56mm centerline, with respect to φ The 5mm outer circular surface is used as a parting surface, which artificially causes burrs on the outer circular surface of the die cast part, resulting in poor appearance quality. Based on the above analysis, Scheme III is chosen, with the upper plane of the shell as the parting surface.

Figure 4 Shell pouring system

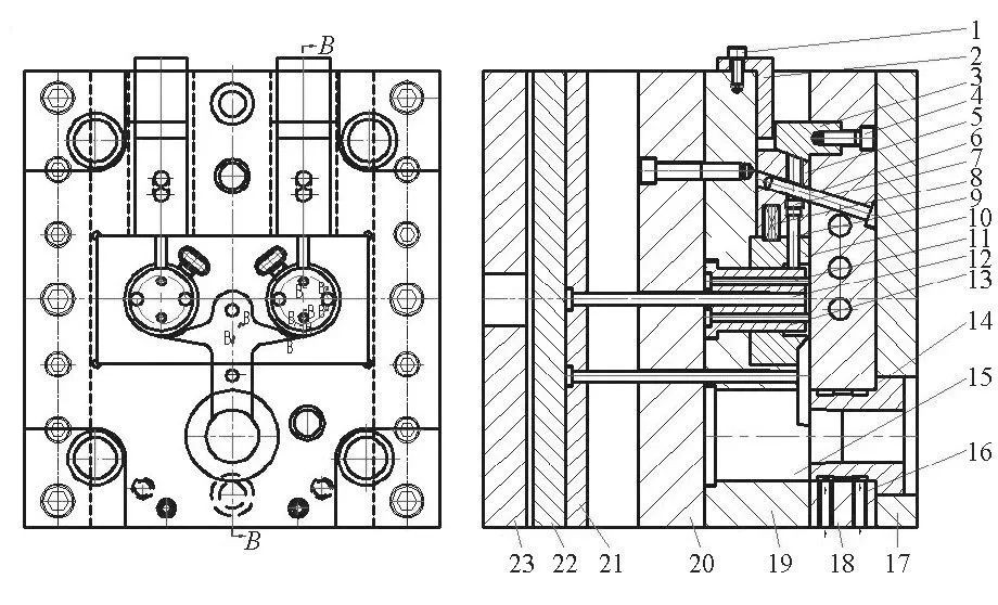
Figure 5 Assembly diagram of shell die-casting mold
1. 4. Internal hexagonal screw 2. Limiting plate 3. Wedge block 5. Sliding block 6. Diagonal guide pillar 7. Top wire 8. Spring 9. Side core 10. Moving mold core 11. Small core 12. Top rod 13. Large core 14. Gate sleeve 15. Diverter cone 16. Copper tube 17. Fixed mold seat plate 18. Fixed template 19. Moving template 20. Support plate 21. Push rod fixing plate 22. Push plate 23. Moving mold seat plate

Figure 6 Die Casting Shell Parts
Author of this article:
Wang Shanglin
Jiangmen Vocational and Technical College
Source of this article: Journal of Special Casting and Nonferrous Alloys