
The pouring system of die-casting determines the flow direction, velocity, and filling time of the metal liquid, and also plays a certain role in regulating and controlling pressure transmission and mold temperature, which is a key factor in determining the quality of die-casting parts. The overflow system includes an overflow groove and an exhaust duct, which are channels for discharging gases, cold materials, and pollutants during the die-casting process. In the design process of die-casting molds, the pouring system and overflow system are often considered as a whole. This study takes the die-casting mold of the engine front cover as an example to introduce the design process and methods of its pouring system and overflow system. The shape, structural characteristics, and technical requirements of the automotive engine front cover are analyzed. The pouring system and overflow system of the product are designed, and the dimensions of the sprue, runner, and overflow groove are designed using calculation methods. On the basis of theoretical design, AnyCasting software was used to simulate the die-casting process of the engine front cover product. After actual trial molding, the product quality was checked and the size of the overflow groove was fine tuned, providing reference for the development of similar products.
Graphic and textual results
Figure 1 shows a front cover developed by a certain automobile company, made of ADC12 alloy and complying with JIS-H5302-2006 standard. It has good fluidity and excellent mechanical properties. The maximum outer contour size of the casting is 603mm × 320mm × 49mm, with a general wall thickness of 2.0mm, a projected area of 1180c ㎡, and a single piece weight of 1.72kg. The sealing requirement for the cavity is 100kPa, with a maximum allowable leakage of 10mL/min. The front cover is a flat thin-walled component with a large casting size and three large through holes in the middle, which is not conducive to filling with molten metal and is prone to casting defects such as flow marks, cold shuts, and deformation. It is necessary to solve the possible casting defects in castings by designing the pouring system, overflow system, and adjusting the die-casting process parameters reasonably.
Based on the structural characteristics of the front cover, the side runner is selected for filling. The side runner is arranged on the long side direction of the casting on the parting surface, which can ensure sufficient cross-sectional area of the sprue and shorten the filling process and time. Due to the multiple bolt mounting holes on the side of the front cover, in order to avoid impacting the core during the filling of the sprue, the lateral sprue design component is arranged in the middle of two adjacent bolt mounting holes in the casting. The pouring system structure is shown in Figure 2. It has the following advantages: the metal liquid filling process is short, which can quickly fill the mold cavity and reduce heat loss; The branch runner has a certain length, which can ensure the flow direction and sequential filling of the metal liquid; Avoid turbulence and sticking caused by the impact of molten metal on the core; Convenient arrangement of overflow channels and exhaust ducts, conducive to exhaust; Easy to remove and facilitate automatic edge cutting in subsequent processes to prevent casting deformation; Beneficial for balancing mold temperature.




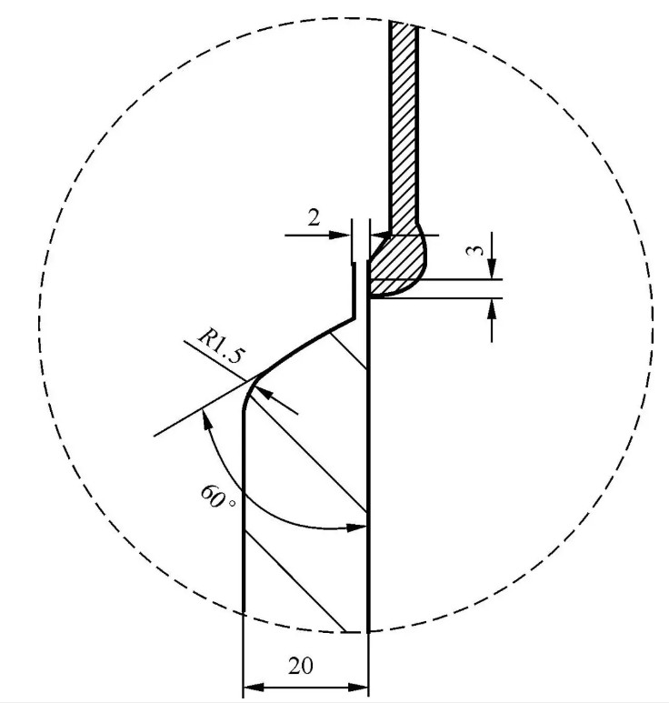
Based on the projection area of the casting and the required injection ratio, the locking force is calculated. It is determined that the previous cover will be produced using a 20000kN die-casting machine with a melting cup diameter of ϕ 110mm. The thickness of the sprue, which is the thickness of the material cake after injection, directly affects the effective transmission of the boosting pressure. If the material cake is too thin and the pressure transmission is insufficient, the internal quality of the casting will be reduced; If the cake is too thick, it wastes materials and often leads to leaks due to insufficient cooling, seriously affecting the production pace. The thickness of the sprue is generally 25% of the diameter of the melting cup, and the thickness of the sprue on the front cover is 30mm. The function of the sprue is to smoothly introduce molten metal from the sprue into the sprue, and its shape and size depend on the position, shape, and direction of the sprue. The front cover adopts branch runners. To prevent the metal liquid from dispersing at the corners, the cross-sectional area of the runner should be regularly reduced and the fillet radius should be increased. The structural design of the runner is shown in Figure 2. The cross-sectional area of the runner is taken as 3-4 times the cross-sectional area of the sprue, and the cross-sectional shape is trapezoidal, with a 60 ° inclined R15mm rounded corner transition to the sprue.
The overflow system is a channel for discharging air, containing residual paint, and initially filling cold alloy during the process of filling the mold cavity with molten metal, which has a significant impact on the quality of castings. The overflow system mainly includes overflow slots and exhaust slots. In the design of overflow slots and exhaust slots, the position, structural form, and direction of metal liquid introduction of the sprue should be fully considered. When designing the location of the overflow groove, the first consideration is to place the overflow groove at the end of the metal liquid filling in the mold cavity and at the location where multiple streams of metal liquid converge. Based on the structural characteristics of the front cover and the position of the branch sprue, the overflow groove is designed at the last filling position opposite the front cover sprue, and 7 overflow grooves are designed in different areas. At the same time, considering that there are two large through holes inside the casting, the cavity structure here will hinder the flow of the metal liquid and change the direction of the metal liquid, causing local areas of metal liquid to converge, and in severe cases, incomplete filling may occur. Therefore, overflow grooves are designed at the two large holes in the center of the casting to facilitate the filling and shrinkage of the metal liquid during the cooling process.



conclusion
Based on the structural characteristics of the front cover, numerical simulation is applied to determine that the front cover is filled with lateral branch runners, which are arranged in the long side direction of the casting on the parting surface. The overflow system is designed at the end of the metal liquid filling and the position where multiple metal liquids converge. The entire filling process is smooth, without turbulence or gas entrapment. The design sequence of the pouring system is to first design the sprue, then design the sprue and runner, and then design the overflow system based on the sprue and casting structure. After theoretical calculation, simulation analysis, and trial mold adjustment, the specific position, shape, and size of the pouring system and overflow system are finally determined. Through mass production verification, the product quality is high and the mold operation is stable and reliable.
author
Dong Shujing and Hou Libin
College of Mechanical Engineering, Dalian University of Science and Technology
This article comes from: "Special Casting and Nonferrous Alloys" magazine, "Die Casting Weekly" strategic partner